Argentina se prepara para convertirse en el primer país en encender reactores nucleares modulares pequeños (SMR),diseñados específicamente para alimentar la creciente demanda energética de la Inteligencia Artificial.

Imagen: Envato
Comparte
Durante el 7° Digital Finance Forum organizado por el Instituto Argentino de Ejecutivos de Finanzas (IAEF),el presidente de Nucleoeléctrica,y hasta hace unas semanas asesor principal del presidente Javier Milei,Demian Reidel,explicó cómo el país está avanzando en la carrera por construir los primeros reactores modulares pequeños (SMR,por sus siglas en inglés),que serán claves para darle energía nuclear a los Centros de Datos para que corra la Inteligencia Artificial.
La revolución de la Inteligencia Artificial (IA),con potencial disruptivo para la economía,requiere una demanda energética astronómica. “El mundo no tiene energía,no hay ni cerca la energía que van a demandar los Centros de Datos para que pueda correr la IA. Ya hay un déficit energético que,con la estructura que tenemos hoy,no hay manera de que lo podamos suplir. Además,se requiere energía limpia,escalable y sustentable en el tiempo”,detalló Reidel,quien aseguró que la energía nuclear cumple con estos tres requerimientos.
Te puede interesar:EE. UU. reactiva energía nuclear para alimentar Centros de Datos de sus tecnológicas
Explicó que el mundo necesita una nueva tecnología de reactores (los SMR) que son más pequeños,más eficientes en cuanto a potencia y que tienen la posibilidad de ser instalados en cualquier terreno. “Por ejemplo,si tenés un lugar desértico,sin acceso a la distribución eléctrica,colocas un reactor de ese estilo y podés industrializar un área que no tenía nada”,dijo.
Para el desarrollo de estos reactores –continuó Reidel–,Argentina tiene una ventaja competitiva: desde 1985,ingenieros locales vienen estudiando y desarrollando la tecnología,y presentaron un prototipo que,si bien no fue viable comercialmente,sirvió para estudiar y patentar el desarrollo.
El país,a través de la empresa de tecnología INVAP,patentó en la Oficina de Patentes y Marcas de Estados Unidos el año pasado un reactor SMR llamado ACR-300,hito que fue celebrado incluso por el presidente Milei en sus redes.
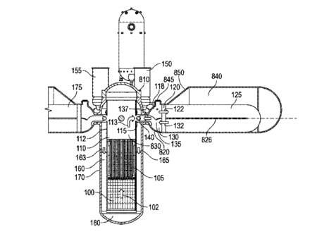
Diseño del SMR patentado por Argentina

Según la patente registrada por INVAP,este es un modelo de agua presurizada (PWR,por sus siglas en inglés) compacto que permite reducir costos,mejorar la operación y el mantenimiento,y realizar operaciones de recarga no complejas.
“Tenemos ingenieros que hace 40 años están resolviendo los problemas de miniaturización de la producción de energía nuclear (…). Buscamos hacer cuatro módulos de 300 megawatts,que todavía no hay en el mundo. Nosotros tenemos que adelantarnos”,afirmó Reidel en el evento de IAEF.
Hay varios elementos que hacen que el país esté avanzado en esta carrera: Argentina tiene tecnología nuclear hace décadas,posee tres plantas que producen energía nuclear (Atucha 1,Atucha 2 y Embalse),cuenta con talento y capacitación,INVAP,la patente,con producción de uranio y ahora tiene un nuevo Plan Nuclear,presentado el año pasado,con el que se propone ser líder global en el uso pacífico de la energía atómica.
Reidel dijo que la iniciativa no se financiará con dinero público,sino que será equity financing del exterior,y donde Argentina tendrá participación mayoritaria. “Este desarrollo va a suplir el déficit energético del planeta (…); en cinco años vamos a poder prender estos reactores,vamos a ser los primeros”,aseguró.
Semanas atrás,de acuerdo con información de El Economista,una empresa inversora estadounidense habría adquirido la patente del reactor modular ACR-300 de INVAP. La operación todavía no fue oficializada ni se conocen detalles sobre la empresa compradora.
En un escenario global donde potencias como Estados Unidos,China y Corea del Sur también compiten por dominar la próxima generación de reactores nucleares,el desafío para Argentina no sólo radica en concretar la puesta en marcha antes que nadie,sino en sostener ese liderazgo frente a una carrera tecnológica feroz. Lograrlo implicará movilizar capitales internacionales,en un entorno donde se está acomodando la macroeconomía local,y coordinar la cadena de valor nacional para escalar la producción,todo mientras se navega en un contexto geopolítico donde la energía para la Inteligencia Artificial se perfila como un recurso estratégico de primer orden.